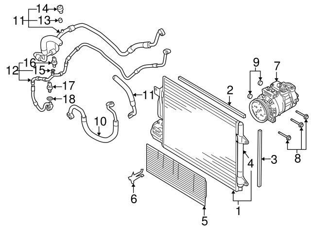
Ремонтний комплект, система кондиціонування повітря • VAG, 1K0820859D



Ремонтний комплект, система кондиціонування повітря для авто від виробника VAG, який має артикул 1K0820859D.
Підходить для таких моделей
Ремонтний комплект, система кондиціонування повітря від VAG, арт. 1K0820859D може бути застосовано у таких авто: VW PASSAT B7, VW PASSAT B7 Estate, VW PASSAT B7 Variant, VW MAGOTAN B7 Variant, SEAT ALHAMBRA, SEAT IBIZA Mk IV SC, SEAT LEON, VW GOLF TOURAN, VW GOLF PLUS V, VW GOLF VI, SKODA OCTAVIA II Combi, SKODA SUPERB II, SKODA SUPERB II Універсал, VW JETTA VI, VW JETTA / CLASICO VI, VW VENTO IV, VW BORA IV, VW JETTA IV, SKODA PRAKTIK, VW SHARAN, AUDI A3 / S3, AUDI A3 Sportback, AUDI TT, AUDI TT Roadster, VW GOLF VI Кабріолет, AUDI A1, VW TIGUAN/TIGUAN LIMITED, VW TIGUAN, SKODA FABIA II, SKODA FABIA II Combi, SKODA YETI, SKODA ROOMSTER Praktik, VW EOS, VW CADDY III Estate, VW CADDY III Фургон/мінівен, VW , VW JETTA V, VW BORA V, VW VENTO III, VW JETTA III, VW SCIROCCO III, VW CC B6, VW PASSAT CC B6 SEDAN GRANDE, VW PASSAT CC B6, VW FUSCA, VW BJALLA, VW BEETLE, AUDI A1 Sportback, AUDI Q3, VW POLO V, SEAT ALTEA, SKODA LAURA II, SKODA OCTAVIA II, VW PASSAT B6 Sedan, VW PASSAT B6, VW PASSAT / Magotan B6, VW PASSAT B6 Estate, VW PASSAT B6 Variant, VW RABBIT V, VW GOLF V, VW TOURAN, SEAT LEON ST, SEAT ALTEA XL, VW JETTA V Variant, VW BORA / JETTA V Variant, VW GOLF V Estate, VW VENTO V Variant, VW GOLF V Variant, SEAT TOLEDO III, SKODA OCTAVIA I, VW NEW BEETLE, VW BEETLE Кабріолет, VW NEW BEETLE Кабріолет, AUDI A3 Кабріолет, VW CC B7, VW GOLF VII Variant, VW JETTA VII SportWagon, VW GOLF VII Estate, VW PASSAT ALLTRACK B7, SEAT IBIZA Mk IV ST, SEAT IBIZA IV ST, SEAT IBIZA Mk IV, SEAT IBIZA IV, VW JETTA VI Variant, VW GOLF VI Estate, VW GOLF VI Variant, SKODA RAPID Spaceback, VW GOLF VII, SKODA RAPID, SEAT TOLEDO IV, SKODA OCTAVIA III, SKODA OCTAVIA III Combi, SEAT LEON SC, VW PASSAT B8, VW PASSAT B8 Estate, VW PASSAT B8 Variant, AUDI A3 / S3 Limousine, AUDI A3 Limousine, AUDI A3 Saloon, VW GOLF ALLTRACK VII Estate, VW GOLF ALLTRACK VII Variant, SKODA SUPERB III, VW CADDY IV Estate, VW CADDY IV Фургон/мінівен, VW TRANSPORTER / CARAVELLE T6 Автобус, VW TRANSPORTER / CARAVELLE Mk VI Автобус, VW CARAVELLE T6 Автобус, VW KOMBI / CARAVELLE T6 Автобус, VW TRANSPORTER Mk VI Фургон, SKODA SUPERB III Універсал, VW GOLF SPORTSVAN VII, VW PASSAT ALLTRACK B8 Estate, VW CADDY ALLTRACK Estate, VW CADDY ALLTRACK Фургон/мінівен, SEAT ATECA, AUDI Q2, VW TRANSPORTER Mk VI Платформа/шасі, VW POLO CityVan, SKODA KODIAQ I, VW ARTEON, SEAT IBIZA Mk V, SKODA FABIA III, SKODA FABIA III Універсал, VW TIGUAN ALLSPACE, VW POLO VI, SEAT ARONA, SKODA KAROQ, VW T-ROC, SEAT LEON Фургон/хетчбек, SEAT LEON ST Фургон/універсал, SEAT IBIZA IV Фургон/хетчбек, VW PASSAT B7 Фургон/універсал, CUPRA ATECA, VW SCIROCCO Van, VW GOLF VI Van, VW GOLF VAN VI Variant, VW GOLF PLUS Van, VW GOLF VII Van, VW GOLF VAN VII Variant, VW CARAVELLE Mk VI, VW MULTIVAN T6, SEAT TARRACO, VW T-CROSS, SKODA SCALA, VW TOURAN VAN, SEAT ALHAMBRA VAN, VW SHARAN VAN, VW TIGUAN VAN, VW CADDY Mk II Пікап, VW PASSAT B5.5 Sedan, VW PASSAT B5.5, VW PASSAT B5.5 Estate, VW PASSAT B5.5 Variant, VW VAN II Фургон/мінівен, VW PANEL II Фургон/мінівен, VW CADDY II VAN, SKODA OCTAVIA I Combi
Ціна
Ми можемо запропонувати кращу ціну та наявність на Ремонтний комплект, система кондиціонування повітря 1K0820859D від VAG, тому що є прямими постачальниками автозапчастин в Україну.
Замовляйте цей товар на сайті або телефонуйте нашому менеджеру.