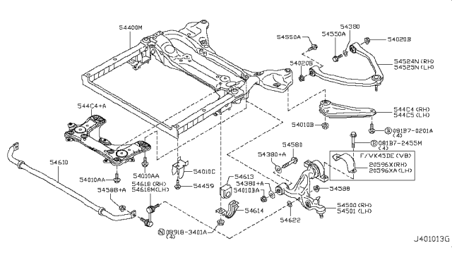
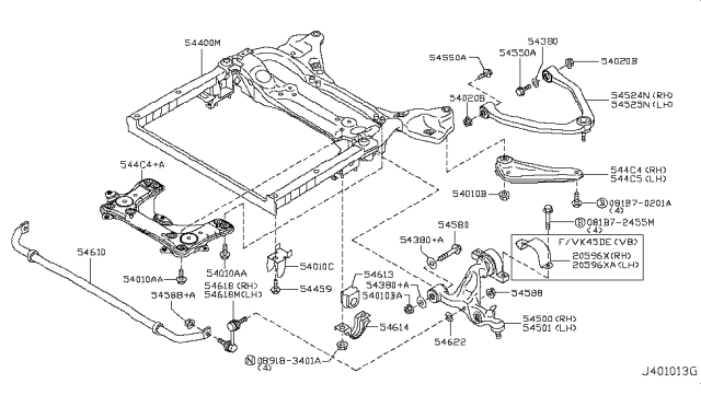
Ремонтний комплект, нижній/верхній кульовий шарнір • NISSAN, 54524EG000



Ремонтний комплект, нижній/верхній кульовий шарнір для авто від виробника NISSAN, який має артикул 54524EG000.
Підходить для таких моделей
Ремонтний комплект, нижній/верхній кульовий шарнір від NISSAN, арт. 54524EG000 може бути застосовано у таких авто: MITSUBISHI COLT II, MITSUBISHI COLT Mk II, MITSUBISHI COLT III, MITSUBISHI COLT Mk III, MITSUBISHI LANCER III Break, MITSUBISHI LANCER Mk III Station Wagon, MITSUBISHI LANCER III Station Wagon, MITSUBISHI LANCER IV, MITSUBISHI LANCER Mk IV, MITSUBISHI LANCER IV Хетчбек, MITSUBISHI LANCER Mk IV Хетчбек, MITSUBISHI GALANT VI Ліфтбек, MITSUBISHI GALANT Mk IV Ліфтбек, MITSUBISHI ETERNA VI Ліфтбек, MITSUBISHI GALANT VI, MITSUBISHI GALANT Mk IV, MITSUBISHI ETERNA VI, MITSUBISHI NIMBUS, MITSUBISHI CHARIOT, MITSUBISHI COLT Mk IV, MITSUBISHI COLT IV, MITSUBISHI EXPO, MITSUBISHI SPACE WAGON II, MITSUBISHI LANCER V Sedan, MITSUBISHI LANCER Mk V, MITSUBISHI LIBERO V, MITSUBISHI LANCER V, MITSUBISHI CARISMA, MITSUBISHI MIRAGE V, MITSUBISHI COLT Mk V, MITSUBISHI COLT V, MITSUBISHI CARISMA Ліфтбек, MITSUBISHI eK Хетчбек, MITSUBISHI COLT VI, MITSUBISHI MIRAGE VI, MITSUBISHI PAJERO MINI I, MITSUBISHI COLT VI Кабріолет, MITSUBISHI DEBONAIR, MITSUBISHI ECLIPSE , MITSUBISHI ECLIPSE I, MITSUBISHI MIRAGE III Хетчбек, MITSUBISHI MIRAGE III Ліфтбек, MITSUBISHI MIRAGE IV Ліфтбе, MITSUBISHI MIRAGE II Хетчбек, MITSUBISHI MIRAGE IV Хетчбек, MITSUBISHI MIRAGE V Купе, MITSUBISHI LANCER V Station Wagon, MITSUBISHI LIBERO V Station Wagon, MITSUBISHI LANCER V Break, MITSUBISHI LANCER Mk V Station Wagon, MITSUBISHI LANCER VI Sedan, MITSUBISHI LANCER Mk VI, MITSUBISHI LANCER VI, MITSUBISHI MIRAGE V Хетчбек, MITSUBISHI MIRAGE IV Куп, MITSUBISHI MIRAGE V Ліфтбек, MITSUBISHI MIRAGE II Ліфтбек, MITSUBISHI LANCER V Хетчбек, MITSUBISHI RVR Station Wago, MITSUBISHI PAJERO JUNIOR , MITSUBISHI L100 / MINICAB, MITSUBISHI COLT PLUS VI, MITSUBISHI SPACE WAGON VAN, MITSUBISHI RVR Мінівен, MITSUBISHI COLT III Ліфтбек, MITSUBISHI LANCER Mk III, MITSUBISHI LANCER III, MITSUBISHI GALANT V Sedan, MITSUBISHI SIGMA V, MITSUBISHI GALANT Mk III, MITSUBISHI ETERNA V, MITSUBISHI GALANT V, MITSUBISHI SAPPORO Mk III, MITSUBISHI FTO Купе, MITSUBISHI TOPPO, MITSUBISHI LANCER VI Купе, MITSUBISHI PAJERO IO I, MITSUBISHI PAJERO TR4 I, MITSUBISHI MONTERO IO I, MITSUBISHI SHOGUN PININ I, MITSUBISHI IO I, INFINITI M3, MITSUBISHI MIRAGE III Station Wago, MITSUBISHI MINICA, MITSUBISHI LANCER VI Кабріолет, MITSUBISHI LANCER VII, MITSUBISHI CEDIA VII, MITSUBISHI LANCER / VIRAGE VII, NISSAN FUGA I, MITSUBISHI PAJERO II Закритий позашляховик, MITSUBISHI , MITSUBISHI MONTERO , MITSUBISHI PAJERO/SHOGUN Mk II, MITSUBISHI PAJERO SFX /SHOGUN II, MITSUBISHI PAJERO/SHOGUN II, MITSUBISHI PAJERO II, MITSUBISHI MONTERO II
Ціна
Ми можемо запропонувати кращу ціну та наявність на Ремонтний комплект, нижній/верхній кульовий шарнір 54524EG000 від NISSAN, тому що є прямими постачальниками автозапчастин в Україну.
Замовляйте цей товар на сайті або телефонуйте нашому менеджеру.