ua · ru
Увійти Графік роботи Ми на карті

Notice: Undefined variable: basketsize in /home/admin/web/autooil.com.ua/public_html/application/view/header.html on line 163

Notice: Undefined index: phone in /home/admin/web/autooil.com.ua/public_html/application/view/header.html on line 179
Каталог автотоварів
Каталог автозапчастин

Робоча втулка циліндра • KOLBENSCHMIDT, 89470110

Оцінка якості
(4)
Оцінка покупців
(4)
× скасувати
Код товару: 89470110
Бренд: KOLBENSCHMIDT - Про бренд
В наявності
Доступно   багато
Відправимо чи забрати   сьогодні
від 2 039 грн.
У кошик
Перед замовленням товару KOLBENSCHMIDT 89470110 обов'язково перевіряйте на сумісність з вашим авто або уточніть у наших менеджерів.
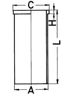
Ø фланця [мм]
116
Внутрішній діаметр циліндра [мм]
108
Довжина [мм]
217
Додатковий виріб/додаткова інформація 2
суха гільза циліндра
Зовнішній діаметр [мм]
111,49
Обробка
з повною обробкою
Ширина [мм]
4,04
Номер двигуна TECDOC
10207; 10227; 14289; 16246; 16247; 16248; 16465; 16466; 16498; 16499; 16500; 16501; 16502; 16503; 16504; 16523; 16751; 16752; 16753; 16754; 16755; 16756; 16757; 16758; 16759; 16827; 16828; 16875; 17045; 17049; 17419; 17420; 18096; 18179; 18180; 18181; 18182; 18183; 18184; 18185; 18186; 18703; 18704; 19113; 19114; 19445; 19968; 19969; 19970; 19971; 20537; 21286; 21292; 21293; 21295; 21299; 21301; 21302; 21303; 21304; 21306; 21307; 22331; 22332; 22335; 22337; 22957; 22958; 22959; 22960; 22961; 22962; 22963; 22965; 22966; 22967; 22969; 22970; 22971; 22972; 22984; 22995; 23059; 23060; 23134; 23144; 23146; 23147; 23148; 23149; 23150; 23156; 23163; 23164; 23670; 23671; 23679; 23681; 23682; 23686; 23962; 25847; 25848; 25849; 27703; 27704; 27705; 27706; 27707; 27708; 27709; 27710; 27724; 28161; 30438; 30439; 30442; 31909; 31910; 31911; 31912; 31913; 31914; 31916; 39540; 39541; 39542; 41147; 41248; 5648; 5988; 6591; 7583; 7584; 7585; 7586; 7587; 7588; 7596; 7597; 7598; 7599; 7600; 7601; 7639; 7647; 7648; 7649; 7656; 7
Оплата
· готівкою в офісі
· безготівкова на карту
· післяплата у перевізника
Доставка
· самовивіз із офісу
· кур'єром по Києву
· Нова Пошта по Україні
Гарантія
· гарантія від виробника
· гарантія від Auto Oil
Повернення
· 14 днів після покупки
Опис
Властивості
Аналоги
Застосовність
Коментарі та відгуки

Робоча втулка циліндра для авто від виробника KOLBENSCHMIDT, який має артикул 89470110.

Ціна

Ми можемо запропонувати кращу ціну та наявність на Робоча втулка циліндра 89470110 від KOLBENSCHMIDT, (EAN: 4028977101243) тому що є прямими постачальниками автозапчастин в Україну.

Замовляйте цей товар на сайті або телефонуйте нашому менеджеру.

Ø фланця [мм] : 116
Внутрішній діаметр циліндра [мм] : 108
Довжина [мм] : 217
Додатковий виріб/додаткова інформація 2 : суха гільза циліндра
Зовнішній діаметр [мм] : 111,49
Обробка : з повною обробкою
Ширина [мм] : 4,04
Номер двигуна TECDOC : 10207; 10227; 14289; 16246; 16247; 16248; 16465; 16466; 16498; 16499; 16500; 16501; 16502; 16503; 16504; 16523; 16751; 16752; 16753; 16754; 16755; 16756; 16757; 16758; 16759; 16827; 16828; 16875; 17045; 17049; 17419; 17420; 18096; 18179; 18180; 18181; 18182; 18183; 18184; 18185; 18186; 18703; 18704; 19113; 19114; 19445; 19968; 19969; 19970; 19971; 20537; 21286; 21292; 21293; 21295; 21299; 21301; 21302; 21303; 21304; 21306; 21307; 22331; 22332; 22335; 22337; 22957; 22958; 22959; 22960; 22961; 22962; 22963; 22965; 22966; 22967; 22969; 22970; 22971; 22972; 22984; 22995; 23059; 23060; 23134; 23144; 23146; 23147; 23148; 23149; 23150; 23156; 23163; 23164; 23670; 23671; 23679; 23681; 23682; 23686; 23962; 25847; 25848; 25849; 27703; 27704; 27705; 27706; 27707; 27708; 27709; 27710; 27724; 28161; 30438; 30439; 30442; 31909; 31910; 31911; 31912; 31913; 31914; 31916; 39540; 39541; 39542; 41147; 41248; 5648; 5988; 6591; 7583; 7584; 7585; 7586; 7587; 7588; 7596; 7597; 7598; 7599; 7600; 7601; 7639; 7647; 7648; 7649; 7656; 7
+
Відгуків до цього товару ще немає.