ua · ru
Увійти Графік роботи Ми на карті

Notice: Undefined variable: basketsize in /home/admin/web/autooil.com.ua/public_html/application/view/header.html on line 163

Notice: Undefined index: phone in /home/admin/web/autooil.com.ua/public_html/application/view/header.html on line 179
Каталог автотоварів
Каталог автозапчастин

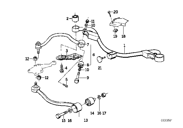
Опора, важіль підвіски • BMW, 31121139456

Оцінка якості
(5)
Оцінка покупців
(5)
× скасувати
Код товару: 31 12 1 139 456
Бренд: BMW - Про бренд
Доставимо
на замовлення
Доступно   багато
Відправимо чи забрати   через 18 дн.
від 1 758 грн.
У кошик
Перед замовленням товару BMW 31121139456 обов'язково перевіряйте на сумісність з вашим авто або уточніть у наших менеджерів.
властивості до цього артикулу ще не заповнені
Оплата
· готівкою в офісі
· безготівкова на карту
· післяплата у перевізника
Доставка
· самовивіз із офісу
· кур'єром по Києву
· Нова Пошта по Україні
Гарантія
· гарантія від виробника
· гарантія від Auto Oil
Повернення
· 14 днів після покупки
Опис
Властивості
Аналоги
Застосовність
Коментарі та відгуки

Опора, важіль підвіски для авто від виробника BMW, який має артикул 31121139456.

Ціна

Ми можемо запропонувати кращу ціну та наявність на Опора, важіль підвіски 31121139456 від BMW, тому що є прямими постачальниками автозапчастин в Україну.

Замовляйте цей товар на сайті або телефонуйте нашому менеджеру.

властивості до цього артикулу ще не заповнені
+
Відгуків до цього товару ще немає.